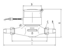
多流旋翼干式光電直讀冷(熱)水表(銅殼)DS97TAR-(15~50)E/Z
用途:本系列水表是用于測量流經自來水管道水的體積總量的儀表。
☆無源直讀,遠程抄表,讀數可靠
☆密封計數器,方便安裝
☆精確度高
☆壓力損失小
☆磁力傳動并防磁
☆采用優質耐蝕材料,使用壽命長
☆本表可提供冷熱兩種款式
工作條件:
☆水壓:不大于1.0MPa(10bar)
☆水溫:0.1℃~50℃(冷水表)0.1℃~90℃(熱水表)
示值誤差限:
從分界流量到過載流量為±2%;
從最小流量到分界流量(不包括分界流量)為±5%.
※根據訂貨要求,可提供該型熱水表。
性能參數和尺寸


壓力損失曲線 示值誤差限與流量曲線